Prebit LED-Anbauleuchte D3-3 Master, chrom-matt, r

177,00 

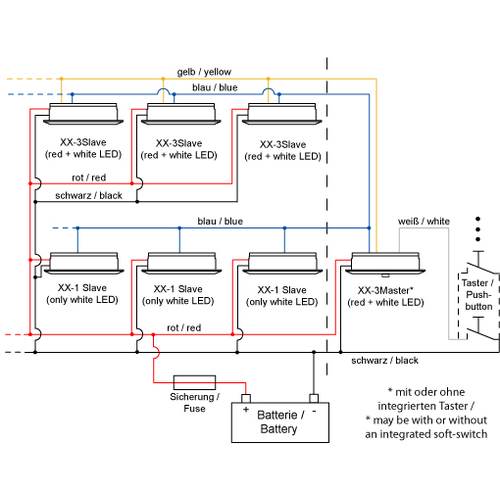
LED-Anbauleuchte D3-3 Master, chrom-matt, rot/warmweiß, 10-30V DC, max. 6W, inkl. DimmermodulPrebit LED-Anbauleuchte D3-3 Master, chrom-matt, r

Lieferung für gewöhnlich: 1 bis 5 Werktage